Ključavnica za vrata industrijskih omarje ključna zaščitna komponenta razdelilne omare, komunikacijske omare, krmilne omarice in druge opreme, ki je neposredno povezana z varnostjo notranjih električnih komponent in stabilnim delovanjem sistema.
Da bi izpolnili raznolike zahteve dobavnih rokov in specifikacij za različne projekte, ima naše podjetje vedno na zalogi pet tipov pogosto uporabljenih ključavnic --Ključavnica z dolgim drogom, Zaklepanje plošče, Zaklep krmiljenja palice, Zaklep ročaja,Vrtljiva jezična ključavnica. Hkrati podpiramo vsako nestandardno ključavnico, prilagojeno po risbah ali vzorcih, ki je popolnoma primerna za vse vrste kovinskih razdelilnih omar.
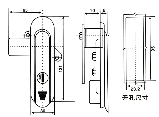
Ravna ključavnica je ena najpogostejših vrst industrijskih ključavnic za vrata omaric, hkrati pa je lepa in enostavna za vzdrževanje. Naše podjetje je lansiralo ravninsko ključavnico serije AB301, AB302, AB303, AB402, AB403, v strukturni trdnosti, zaščitni zmogljivosti in občutku delovanja diferenciranega dizajna, lahko izpolnjuje različne specifikacije razdelilne omarice, zahteve za namestitev nadzorne omare.
| Dimenzije | Številka izdelka | |||||||
| L1 | L2 | L3 | B1 | B2 | Siva kromirana prevleka | Siva barva v spreju | Črno prašno lakirano | Teža (g) |
| 147 | 117 | 72 | 33 | 26.5 | AB301-1-1.2 | AB301-1-1.8 | AB301 | 370 |
| 120.5 | 95.5 | 65 | 30 | 23.5 | AB301-2-1.2 | AB301-2-1.8 | AB302 | 290 |
| 87.5 | 62.5 | 65 | 28.5 | 23.5 | AB301-3-1.2 | AB301-3-1.8 | AB303 | 215 |
Glavni material: cinkova zlitina.
Površinska obdelava: svetel krom, mat, črna.
Funkcija in uporaba: Uresničite levo in desno odpiranje vrat, enostavno za uporabo, s tesnilno in vodotesno funkcijo.
Glavni material: cinkova zlitina.
Površinska obdelava: svetel krom, mat, črna.
Funkcija in uporaba: Uresničite levo in desno odpiranje vrat, enostavno za uporabo, s tesnilno in vodotesno funkcijo.
Material: ohišje ključavnice iz cinkove zlitine, vrtljiva gred, zapah iz pocinkanega jekla, tlačna plošča.
Površinska obdelava: srebrno siv nano sprej.
Opis strukture: zavrtite za 90 stopinj, da odprete ali zaklenete.
| MODEL | L1 | L2 | L3 | B1 | B2 | B3 |
| NOVO AB402-A | 123 | 95.5 | 65 | 36.5 | 30 | 23.5 |
| NOVO AB403-A | 91 | 62.5 | 65 | 33 | 28.5 | 23.5 |
| NOVO AB401-A | 151 | 117 | 72 | 36 | 30 | 26.5 |
